| ROVER 45 / MG ZS - Dimensions 1999 until Mid 2004 - Great Britain | |||
|---|---|---|---|
| 5-door Hatchback | 4-door Saloon | ||
![]() |
![]() | ||
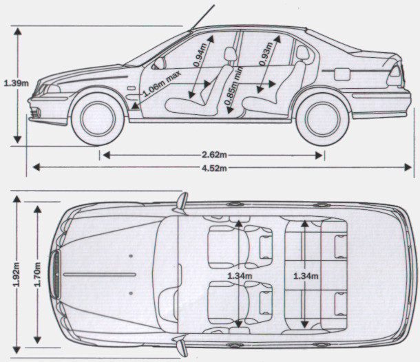
| Length over all | 4362 mm | Length over all | 4517 mm |
| Width (Body) | 1696 mm | Width (Body) | 1696 mm |
| Width (including mirrors) | 1920 mm | Width (including mirrors) | 1920 mm |
| Height | 1394 mm | Height | 1395 mm |
| Wheelbase | 2620 mm | Wheelbase | 2620 mm |
| Track, front | 1475 mm | Track, front | 1475 mm |
| Track, rear | 1465 mm | Track, rear | 1465 mm |
| Luggage Capacity | 380-717 l | Luggage Capacity | 470-810 l |
| Fuel Tank Capacity | 55 l | Fuel Tank Capacity | 55 l |
| ROVER 45 / MG ZS - Dimensions from Mid 2004 - Great Britain | |||
| 5-door Hatchback | 4-door Saloon | ||
![]() | |||
© 2021-2026 by ROVER - Passion / Michael-Peter Börsig